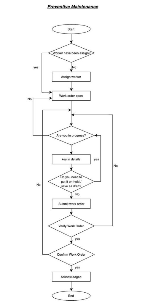
Preventive Maintenance Work Order Flowchart Skip to main content How Can We Help? Search Preventive Maintenance Work Order FlowchartCreated OnFebruary 23, 2026byaini Print You are here: KB Home Tutorials Preventive Preventive Maintenance Work Order Flowchart < Back
Preventive Maintenance Work Order FlowchartCreated OnFebruary 23, 2026byaini Print You are here: KB Home Tutorials Preventive Preventive Maintenance Work Order Flowchart < Back