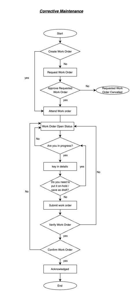
Corrective Maintenance Work Order Flowchart Skip to main content How Can We Help? Search Corrective Maintenance Work Order FlowchartCreated OnFebruary 27, 2026byaini Print You are here: KB Home Tutorials Corrective Corrective Maintenance Work Order Flowchart < Back
Corrective Maintenance Work Order FlowchartCreated OnFebruary 27, 2026byaini Print You are here: KB Home Tutorials Corrective Corrective Maintenance Work Order Flowchart < Back